induction coil

Also found in: Medical, Financial, Encyclopedia, Wikipedia.

induction coil

n.
A transformer, often used in automotive ignition systems, in which an interrupted, low-voltage direct current in the primary is converted into an intermittent, high-voltage current in the secondary.
American Heritage® Dictionary of the English Language, Fifth Edition. Copyright © 2016 by Houghton Mifflin Harcourt Publishing Company. Published by Houghton Mifflin Harcourt Publishing Company. All rights reserved.

induction coil

n
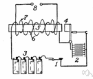
(Electrical Engineering) a transformer for producing a high voltage from a low voltage. It consists of a cylindrical primary winding of few turns, a concentric secondary winding of many turns, and often a common soft-iron core. Sometimes shortened to: coil
Collins English Dictionary – Complete and Unabridged, 12th Edition 2014 © HarperCollins Publishers 1991, 1994, 1998, 2000, 2003, 2006, 2007, 2009, 2011, 2014

induc′tion coil`


n.
a transformer that consists of two concentric coils wound on the same core and is used for producing high-voltage alternating current from low-voltage direct current.
[1875–80]
Random House Kernerman Webster's College Dictionary, © 2010 K Dictionaries Ltd. Copyright 2005, 1997, 1991 by Random House, Inc. All rights reserved.

induction coil

A type of transformer that changes a low-voltage direct current to a high-voltage alternating current. Induction coils are used for many purposes, such as firing spark plugs in automobile engines and starting oil burners.
The American Heritage® Student Science Dictionary, Second Edition. Copyright © 2014 by Houghton Mifflin Harcourt Publishing Company. Published by Houghton Mifflin Harcourt Publishing Company. All rights reserved.
ThesaurusAntonymsRelated WordsSynonymsLegend:
Noun1.induction coil - a coil for producing a high voltage from a low-voltage sourceinduction coil - a coil for producing a high voltage from a low-voltage source
coil - reactor consisting of a spiral of insulated wire that introduces inductance into a circuit
ignition coil - an induction coil that converts current from a battery into the high-voltage current required by spark plugs
spark coil - an induction coil used to create sparks
spark gap - the gap between two high-potential terminals
transformer - an electrical device by which alternating current of one voltage is changed to another voltage
Based on WordNet 3.0, Farlex clipart collection. © 2003-2012 Princeton University, Farlex Inc.
Mentioned in
References in periodicals archive
As a last resort, moulders are now applying localised induction coil heating to improve weld lines cosmetically and for strength.
When the speed [omega](t) changes, the flux [PHI](t) changes accordingly and induces a voltage [U.sub.i](t) in the induction coil according equation:
From a signal through the thermocouple embedded in the roll surface, mist volume and power to the induction coil are automatically controlled; whenever there is an external heat input, the roll surface temperature is precisely maintained.
Let the total magnetic flux in each induction coil of a TCR antenna be [[PHI].sub.1](x,[x.sub.1],t) and [[PHI].sub.2](x, [x.sub.1], t), where
The induction coil (invented by Irish priest Nicholas Callan) was a powerful new source of electricity that generated yet more spectacular effects.
Zhang, "Application of FE-BECM in field analysis of induction coil gun," IEEE Trans.
What the Evatran system essentially consists of is a floor-mounted unit that contains an induction coil connected to the grid.
It has a strong electro-magnet (or induction coil) positioned just under the ceramic cooking zones.
The induction coil, placed in 'interior position (as can be seen in Fig.
Copyright © 2003-2025 Farlex, Inc Disclaimer
All content on this website, including dictionary, thesaurus, literature, geography, and other reference data is for informational purposes only. This information should not be considered complete, up to date, and is not intended to be used in place of a visit, consultation, or advice of a legal, medical, or any other professional.